Hyundai összecsukható kisautó szabadalmi vázlatok | Totalcar
hirdetés
hirdetés
hirdetés
✕
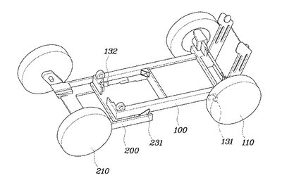
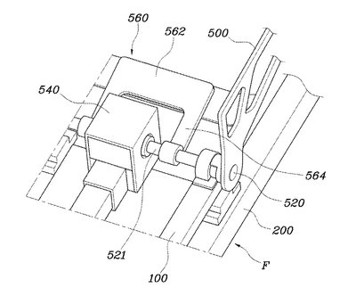
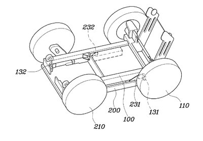
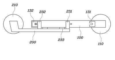
Fotó:
USPTO / USPTO
✖