Hírek bmw 2009. 11. 26. 12:34 Sportos Mini jön, dízelmotorral? A BMW kisautó-márkájának következő meglepetése állítólag a Cooper SD lesz – legalábbis erre utalnak a legújabb hírek.
Hírek bmw 2009. 11. 30. 18:44 Schnitzer BMW egyenruhában A német rendőrség és a nagy tuningcégek sufnituning-ellenes kampányára készült el az egyes kupé villámgyors, rendőr-ruhás változata.
Hírek bmw 2009. 12. 01. 18:42 Autó, ami nincs: BMW egyterű Igazi egyterűt eddig sem készítettek a bajorok, és ezután sem valószínű, hogy fognak.
Hírek bmw 2009. 12. 07. 18:54 A BMW visszatér Le Mans-ba Az F1-ből ugyan kiszállt a német gyártó, de az autóversenyzésnek nem fordít hátat.
Hírek bmw 2009. 12. 10. 18:22 A legkönnyebb BMW Szívesen látnánk a BMW csodás motorjait valami könnyű és egyszerű sportkocsiban, de a gyáriaktól egyelőre hiába várjuk a megoldást.
Hírek bmw 2009. 12. 14. 16:30 Z4 sDrive35si: már majdnem M Kerek 330 lóerő, 5 másodperc 100-ra. Néhány évvel ezelőtt ennyi még elég lett volna az M betűhöz.
Hírek bmw 2009. 12. 17. 14:52 BMW ActivE: 170 patyolat lóerő Az egyes kupén alapuló tanulmány erős, és közvetlenül egyáltalán nem szennyezi a környezetét
Hírek bmw 2009. 12. 21. 18:30 BMW Z4 az M3-as motorjával Csak elkészül a BMW sportkocsijának nyolchengeres változata.
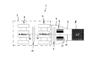
Hírek bmw 2010. 01. 10. 09:24 Duplamotoros hajtáslánc a BMW-től A fura elképzelést épp most próbálja szabadalmaztatni az autógyártó.
Hírek bmw 2010. 01. 14. 14:36 Erősebb és tisztább Minik jönnek A teljes motorválasztékot átdolgozták a BMW mérnökei, sőt, állítólag saját dízelmotort kapnak a Minik.
Hírek bmw 2010. 01. 18. 15:12 Átalakulnak a kétajtós hármas BMW-k Szigorúbb arc, és hatékonyabb motorok jellemzik az új kupét és kabriót.