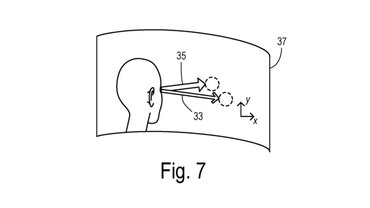
Hírek ford 2024. 07. 29. 20:04 A Ford olyan adaptív fényszórót fejleszthet, amely a vezető tekintetét követi Az Opel korábban már próbálkozott hasonlóval.
Totalbike motor 2021. 12. 28. 11:10 Elképesztő motorgyűjteménnyel büszkélkedhet Keanu Reeves Nem titok, hogy nagy motorbolond a filmsztár, a garázsát sokan elfogadnánk.
Hírek audi 2015. 08. 01. 15:23 Hogy lássanak a sötétben Az Audi Matrix OLED fényszórói új lehetőségeket tartogatnak, és hamarosan eljutnak a sorozatgyártásig is.