A Kawasaki mint motorgyártó apró, de mint cégcsoport hatalmas, ez a kettősség pedig kedvez a merész húzásoknak - egyfelől megvan az anyagi háttér, másrészt a motorgyártó részleg kellően kicsi, hogy gyors és bátor döntéseket hozzanak. És egy ilyen döntés állhat a most kikerült szabadalmi rajz hátterében is, ugyanis egy elég meglepő modell terveit védették le, egy háromkerekű, kanyarban bedőlő side by side-ot, amely leginkább a Polaris Slingshot ellenfele lehet - azzal a fontos különbséggel, hogy a Polaris nem dől be a kanyarban, ahogyan a motorkerékpárszerűbb Can-Amek sem.
Bár a Kawasaki sokféle ATV-t és UTV-t gyárt, ez a koncepció egészen új, hiszen a Yamaha Niken jellegű bedőlős háromkerekű motorokat keresztezték a side by side ATV-kkel (ilyen side by side például a Polaris RZR, amelyben egymás mellett ül a vezető és az utas, az irányítása pedig autókból ismerős kormányművel történik).
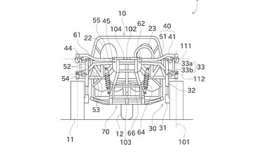
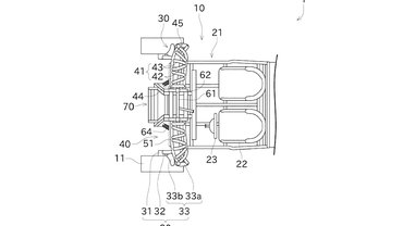
A Kawasaki egy csőváz köré álmodta meg a járművet, aminél két első és egy hátsó kerék van - az első kerekek független lengőkarokon helyezkednek el, a jármű pedig a jobb stabilitás érdekében enyhén befelé dől a kanyarban - ilyenkor a motorkerékpáros profilú hátsó kerék dől, a személyautós profilú elsők pedig az útra merőlegesek maradnak.
Az első futómű egyébként részleteiben hasonlít a Nikenéhez, vagyis a lengőkarokhoz teleszkópvillák csatlakoznak.
A hajtás lehet elektromos, benzines vagy hibrid is - a motor pedig az utasok mögé kerül. A Ninja H2 blokkjával minimum érdekes lenne. Bár a terv mindenképpen izgalmas, valószínűleg nem lesz ilyen járműve a Kawasakinak, és a szabadalom igazából az első futóműről szól.
További cikkeink













