A gyorsváltó nem is olyan régen még a pályamotorok sajátja volt, mostanra viszont már a túramotorokban is teljesen szokványos - mint kiderült, nem csak a köridőből segít századmásodperceket lefaragni, hanem a közúti használatot is kényelmesebbé és élvezetesebbé teszi. A Kawasaki éppen ezért egy újfajta gyorsváltón dolgozik, kimondottan utcai motorosok számára.
A gyorsváltók működése viszonylag egyszerű: érzékelik a váltókar mozgását, és egy ponton rövid időre megszakítják a gyújtást, ezzel egy pillanatra tehermentesítve a hajtást, és így akadálymentesen becsúszik a következő fokozat. A kétirányú gyorsváltók annyival tudnak többet, hogy a csúszókuplunggal együttműködve adnak hozzá egy kis gázfröccsöt is. A legjobb rendszereknél mindezek alacsony és magas fordulaton is simán működnek.
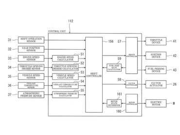
A Kawasaki ennél tovább menne, és a tökéletesen sima működést egy automatizált kuplunggal érnék el, melyben a kétirányú gyorsváltó szükség esetén együttműködik az automata kuplunggal. Tehát nagy fordulatnál pont úgy működne, mint az összes többi gyorsváltó, ott a sima kapcsoláshoz nincs szükség trükkre, de részterhelésen magától nyitja és zárja a kuplungot, hogy a lehető legsimább legyen a váltás, és az elektronika maga dönti el, hogy melyik módot választja. Ehhez figyelembe veszi a fordulatot, a váltófokozatot, a fojtószelep állását, váltó mozgását, a légköri nyomást és a hűtőfolyadék hőmérsékletét, és ezek alapján dönti el, hogy a váltáshoz szükséges-e nyitni a tengelykapcsolót, vagy csak elég elvenni a gyújtást egy pillanatra. Mindezt úgy, hogy a motoros észre sem veszi, hogy a motor helyette festett bele a kuplungba.
A Kawasaki az új gyorsváltót elképzelte villanymotorral párosítva is, vagyis már most készülnek arra, hogy a technológia felhasználható legyen a készülő hibrid modelljükben is, tehát tudja kezelni azt, ha a motor tisztán benzinnel, tisztán árammal, vagy a kettővel együtt hajt.













