Hírek ferrari 2024. 01. 07. 15:46 Eladó a világ legdrágább papírnehezéke Az eredeti ár töredékéért szerezhet valaki egy Ferrari FXX-K Evót, de van egy csavar.
Hírek ferrari 2024. 01. 06. 15:42 Letesztelte, mit megy a Ferrari, a rendőrök pontozták mutatványát 8/8.
Hírek baleset 2024. 01. 03. 17:27 Ferrarival előzött egy szabadnapos rendőrt, majd becsapódott egy erdőbe A Ferrari alatt szétszaladtak a lovak, miközben az útviszonyok sem voltak megfelelőek ilyen manőverhez.
Hírek ferrari 2023. 12. 31. 08:04 9000-ig forgó Ferrari V8-ast tettek ebbe az 50 éves Alfa Romeóba Stílusos olasz autóba stílusos olasz motort illik pakolni!
Hírek ferrari 2023. 12. 26. 17:48 Magyar limitált kiadású Ferrari készül – igen, gyári A sajtófotókon az Erzsébet-híd buszsávjában halad.
Hírek ferrari 2023. 12. 16. 15:59 Videó is készült Michael B. Jordan hollywoodi Ferrari-zúzásáról Egyenes úton, egy másik Ferrari mellett indult meg az autó hátulja, nem volt hely a korrekcióra.
Hírek ferrari 2023. 12. 12. 06:56 Kell egy új LaFerrari utascella? Semmi gond, 380 millió lesz! Majdnem annyiba kerül a karbon műremek, mint amennyiért az egész autóért kértek akkor, amikor megjelent.
Hírek ferrari 2023. 12. 06. 13:44 Elégett a Ferrarija, eladta a darabjait, most vehetne belőle másik Ferrarit Emlékeztek még a srácra, akinek leégett a Ferrarija a kukoricaföldön? Egyedi megoldást talált ki a pénzgyűjtésre.
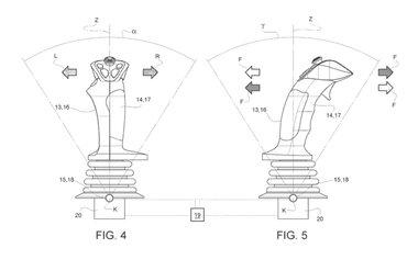
Hírek ferrari 2023. 11. 25. 17:50 A Ferrari joystickkal vezethető járművet szabadalmaztatott Bármennyire is állítják, nem ők az elsők.
Hírek ferrari 2023. 11. 18. 13:35 Ferrariban hagyta a lóvét, a NAV segített megtalálni - tippelj mennyi a millió! Bűnszervezetet számolt fel a NAV adócsalásért.
Hírek ferrari 2023. 11. 15. 16:29 17,8 milliárd forint: 1 Ferrari 330 LM / 250 GTO Ugyan a becsült rekordárat nem érte el, így is a második legmagasabb árverési eredmény egy autóért.
Hírek ferrari 2023. 11. 07. 10:14 Ferrarit rendelnél? Van egy rossz hírünk! Az első tisztán elektromos meghajtású Ferrari is szóba került.