Elon Musk többször elejtett már utalásokat azzal kapcsolatban, hogy az új Tesla Roadster rakétatechnológia segítségével játszaná ki a fizika törvényeit. Amint kiderült, ugyanez az ötlet a világ egy másik pontján, Olaszországban is felmerült.
A Ferrari még 2019-ben nyújtott be egy rendkívüli technológiai szabadalmat, mely azonban csak évekkel később nyilvánossá. Ebben egy fúvókákra épülő rendszer részleteiről van szó, mely javítaná az autó menettulajdonságait.
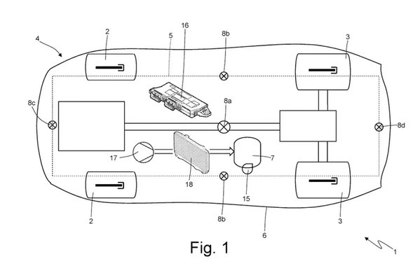
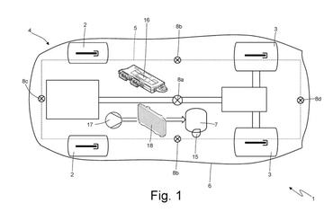
A szabadalom szerint az előre szerelt fúvókák a lassítást, a hátra szereltek pedig a gyorsítást segítenék elő, miközben a tetőre és az autó alá rejtett szerkezetek a tapadást hivatottak növelni. A fúvókák „meghajtására" a szabadalom több lehetőséget is felvázol. Az első ezek közül az extrém nagy nyomású sűrített levegő. A 700 és 900 bar közötti nyomáson tárolt gáz a megfelelő fúvókán át akár 5 000 newtonos erőt is képes kifejteni.
A sűrített levegőt külön erre szolgáló tartályokban tárolnák az olaszok. Ezeket az egyik elképzelés szerint az autó képes lenne menet közben feltölteni egy, az első tengellyel összekötött kompresszor segítségével. A rendszer így a hibrid autókhoz hasonlóan működne: a fékezési energiát használná a kompresszor meghajtására, és ezáltal a tartályok feltöltésére.

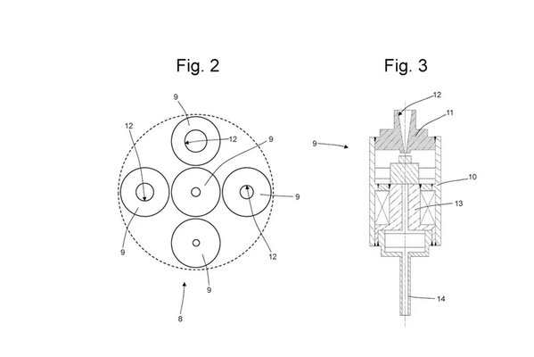
Egyébként az sem feltétlenül baj, ha utóbbiak elkezdenek kiürülni. Minden fúvóka öt különböző méretű kivezetést kapna, melyeket a nyomás alakulásának függvényében használna a jármű. Ha a tartályok teli vannak, a legkisebb átmérőjű kivezetés is elég erőt tudna kifejteni, míg csökkenő nyomás esetén a nagyobbakra váltana a rendszer.
A szabadalom szerint az egész berendezés 40-45 kiló plusz sújt jelentene, mely bár nem kevés, nem is ijesztően sok. Ami inkább kérdéseket vet fel, az a fúvókák hangereje, különösen, ha a sűrítettlevegős megoldás nem válik be.

A Ferrari ugyanis a szabadalom végén hozzáteszi: végső soron akár apró, benzint égető pulzáló sugárhajtóművek is bevethetőek lennének a feladatra, melyek hangja köztudottan fülsüketítő.
Forrás: thedrive.com








