A Honda duplakuplungos DCT váltója jelenleg a legfejlettebb motorkerékpárváltó a piacon. A szerkezet lényege, hogy a páros és páratlan fokozatok külön kuplungot kapnak, tehát a következő fokozat már be van készítve, és ahogyan old az egyik, azonnal zár a másik, így nagyon finom és mégis villámgyors kapcsolás érhető el.
Bár autóknál régóta alkalmazzák a megoldást, motoroknál először a Honda VFR1200F és VFR1200X kapta meg a szerkezetet, majd jöttek az NC modellek, majd az Africa Twin, legutóbb pedig az új Gold Wingbe építették be, és ha hitetünk a híreknek, még tovább bővíti a Honda DCT-s modellek sorát, mégpedig egy cruiserrel.
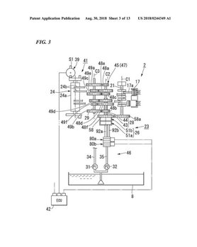
A Honda legutóbb benyújtott szabadalmi terveint a 1312 köbcentis VT13000CX látható, amelyet Európában már egy ideje nem kapni, de Amerikában máig fut Fury néven. A konstrukció bőven a DCT előtti időszakban született, de várhatóan alaposan átdolgozzák, hogy képes legyen befogadni a duplakuplungos szerkezetet.
Ebből sejthető, hogy a Honda nem vetette el végleg a V2-es modelleket, illetve hogy vissza szeretnének térni a cruiserek piacára.











