A BMW legújabb szabadalmi rajzai szerint ők is aktív aerodinamikai elemeken dolgoznak. A Ducati és a Honda után ők is szárnyakkal növelnék a leszorítóerőt - nem is feltétlenül az utcai motorosok kedvéért, hanem azért, hogy a Superbike világbajnokságon versenyképesek legyenek.
Ugyanis a MotoGP-vel ellenben a Superbike VB-n nem annyira szigorúak a szabályok az aerodinamikát illetően, annyi megkötés, hogy a szériamotorral egyezőnek kell lennie. Tehát a gyártóknak nyitott a lehetőség, hogy aktív elemeket használjanak. Ezt a kiskaput pedig addig kell kihasználni, míg a szervezők be nem csukják. Az pedig simán benne van a pakliban, hogy pár év múlva a tömeg és a teljesítmény mellett teljesen elfogadott adat lesz, hogy a motor mennyi leszorítóerőt termel autópályatempónál.
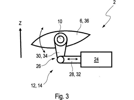
A BMW újítása az aerodinamika terén, hogy az első szárnyakat a rugózatlan elemekre kell szerelni, vagyis a villaszárra és a lengővillára. Ebben van ráció, hogy ne a futóművet terheljék pluszba, hanem közvetlenül az útra nyomják le a kereket, a rugók plusz stresszelése nélkül.
A szárnyak szöge pedig változtatható, ezzel lehet tehát szabályozni a leszorítóerőt és a légellenállást - hogy milyen adatokból dolgozik a rendszer és azokra miként reagál, az egyelőre rejtély, de valószínűleg figyelembe fogja venni a fojtószelep állását, a féket és a dőlésszöget is.









