A Honda szabadalmaztatta az Africa Twin feltöltött változatát, melyet közvetlen befecskendezéssel és egy ikercsavaros kompresszorral hergelnének fel. A szabadalmi rajzok ugyan nem ígérnek semmit, az viszont látszik, hogy a Honda komolyan veszi a feltöltött motorkerékpár koncepcióját - még ha jelenleg csak a Kawasaki kínál ilyesmit, nem kizárt, hogy tíz év múlva ez lesz a fő csapás.
Szabadalomhoz alapnak a CRF1100L vázát és blokkját használták, amely kompresszorral megfújva egészen biztosan combosabb az eredeti 101 lónál. És ha ez tényleg gyártásba kerül, az egyik legmeggyőzőbb kalandmotornak ígérkezik: a kényelem és a terepképesség megvan, viszont erőben már ott lesz a BMW R 1250 GS mellett - arra viszont nem számítanék, hogy a Ducati Multistrada 1260 magasságáig, azaz 158 lóerőig húznák.
Az ikercsavaros kompresszor inkább alacsony fordulaton hatékony, és a turbóval szemben mellette szól, hogy késlekedés nélkül, kiszámíthatóbban adja le a teljesítményét. A Kawasaki megoldása egyébként eléggé más, ott egy radiális (más néven centrifugál) kompresszort használnak, amely magasabb fordulatszámtartományban hatékony.
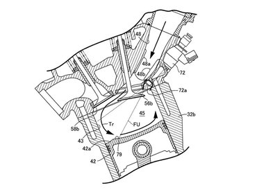
A Honda a váltó fölé építené a kompresszort, és érdekes módon kettős befecskendezéssel párosítanák, amiből az egyik a szívócsőbe juttat benzint, a másik pedig közvetlenül az égéstérbe.
Azt már sokszor láttuk, hogy a jövő modelljei szempontjából semmit nem jelent egy-egy szabadalom, viszont ezekből körvonalazódik, hogy mire megy el az adott vállalat K+F büdzséje, és a Hondánál ezeket átnézve arra lehet következtetni, hogy valóban foglalkoznak a feltöltött motorokkal, és mivel ez egy nagyon alaposan kidolgozott koncepciónak látszik, erős a gyanúm, hogy ezt valóban komolyan gondolják.













