A Kawasaki legújabb szabadalmai mutatják, hogy előrelépés történt a hibrid motorjuk ügyében. A japán szabadalmi hivatalnak beadott rajzok szerint a Kawasaki komolyan gondolja, hogy összeházasítják egy motorban a benzines és az elektromos hajtást - az autók világában ez lassan alapnak számít, viszont motoroknál még nem sikerült kiaknázni a technológia előnyeit.

A Piaggio már megpróbálta az MP3 Hybriddel, és a Honda is árulja néhány piacon a PCX hibrid változatát, de egyik sem elsöprő hatású, a Kawasakinál viszont ebben látják a jövőt.
Tavaly októberben kaptunk először infót a részletekről, az eddig látottak alapján a Ninja 400 platformját használják, és az elektromos hajtás kiegészítő jellegű, a veszteségenergiát hasznosítja, illetve kis tempónál vált csak át tisztán elektromos használatra. Az igazán érdekes üzem az, amikor a két hajtási módot egyszerre biztosítja, és a villanymotor megtámogatja a benzines nyomatékgörbéjét.
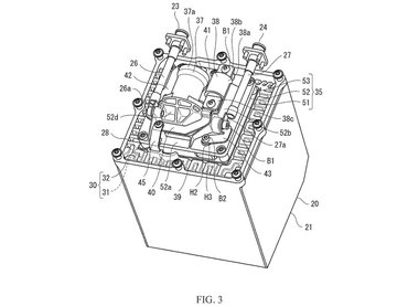
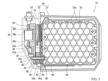
A mostani szabadalom az akkumulátorról szól, és kijelenthetjük, hogy jelenleg minden az akkuk körül forog, mert míg egy villanymotor könnyebb, hatékonyabb és olcsóbb, mint egy belsőégésű, addig az akkumulátorok egyelőre nehezebbek, nagyobbak és drágábbak, mint egy tank benzin. A Kawasaki egy cserélhető akkupakkban gondolkodik, és éppen a kiegészítő hajtásban vállalt szerepe miatt megengedhető, hogy kicsi és könnyű legyen - bőven elég, ha fél-egy órányi hajtáshoz elég csak, a többire ott van a benzinmotor.
A kocka kialakítású pakk az ülés alá kerülne, és ezen keresztül menne a farokidomban elhelyezett 12V-os akkumulátor töltése, amely a motor normál elektromos rendszerét működteti, tehát az ECU-t, a gyújtást és a lámpákat, míg a nagy akkuról direktben csak a villanyhajtás menne.
A Kawasaki terveiben szereplő motor egyelőre nagyon drága lenne, de a jövőben a kibocsátási szabályok szigorodásával és az akkumulátortechnika fejlődésével egy jó alternatíva lehet.











