Nem tudom, ti hogy vagytok vele, de én, ha nagy ritkán igazán modern autóba ülök, az biztos, hogy azonnal kilövök mindent, ami aktívan beavatkozik a vezetésbe. Na, a Honda frissen benyújtott szabadalma (CAS - Crash Avoidance System) egy olyan motorkerékpár-kormányrásegítő rendszert vázol fel, ami vészhelyzetben képes lehet aktívan, rásegítéssel „eltolni” a motort a veszélytől. Igen, ez pontosan az autózás világából ismert sávtartó és iránykorrekciós asszisztensek logikáját ültetné át két kerékre, és szerintem ettől van még akit lever a víz. Na, de hogyan működik?
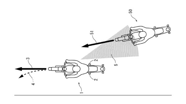
A leírás szerint a rendszer kamerát, holttér-érzékelést és kormányvezérlést használna, hogy veszélyhelyzet észlelésekor kormányzási segítséget adjon – akár úgy is, hogy a motor irányát ténylegesen módosítja. A cél a balesetek elkerülése: tehát amikor a rendszer úgy ítéli meg, hogy az ütközés közvetlenül fenyeget.

A koncepcióban kétféle működési metódus látható. Az egyik, ha a motoros már reagál (fékez, kormányoz, vagy a gázzal korrigál), a rendszer gyorsan rásegít a manőverre, azaz hatékonyabbá tesz mondjuk egy kikerülő manővert. Ha viszont azt érzékeli, hogy a motoros nem észlelte a fenyegetést, erősebb kormányrásegítést alkalmazna – a leírás szerint úgy, hogy közben ne borítsa fel az egyensúlyt és ne okozzon pánikot.
Engem mondjuk biztosan pánikba rakna, ha úgy döntenék a tapasztalatom alapján, hogy az előttem lévő akadályon átmegyek (ezt még tanítják is néhány vezetéstechnikai tréningen), de alattam az elekronika elkezdi felülírni a döntésem, megváltoztatja a sebességem és a motor kormányának elfordítási szögét, miközben én teszem azt a motor oldalára kilógva, de a motort a lehető legfüggőlegesebb helyzetben próbálom átküldeni egy jobbos kanyarban az akadályon, miközben az utasom valami teljesen más jógapozíciót vesz fel – ez meglehetősen kockázatoabb beavatkozás, mint egy autóban.
Félreértés ne legyen, nem Az én vezetésembe senki se’ avatkozzon be, mert majd én mindent jobban tudok boomer szöveget akarom erősíteni, hanem különbséget teszek az asszisztencia és a beavatkozás között. Az elektronikai segédek (ABS, kipörgésgátló, egykerekezés-gátló) évek óta bizonyítanak, csak ezek jellemzően a motoros inputjait támogatják, de nem írják felül. A kormányzásba való közvetlen beavatkozás viszont más, egy sokkal érzékenyebb határ, kiváltképp addig, ameddig egy gép nem tud 100-ból 100x tévedés nélkül különbséget tenni a valódi veszély és neccesnek tűnő szituáció között – ezt tudjuk, hogy ma még semelyik gyártónak nem megy – valamint nincs válasza a klasszikus, mi a kisebbik rossz dilemmákra, mert helyettem ne döntsön úgy, hogy nem mehetek neki az oszlopnak egy csapat bébinyuszi helyett.

Ugyanakkor fontos, hogy a benyújtott szabadalom önmagában nem jelenti azt, hogy a Honda rövid időn belül sorozatgyártásba küldi a rendszert, mégis mutat egy irányt: a gyártók a motoros biztonsági elektronikában a fékezés és a tapadás menedzselése után egyre inkább a menekülési manőverek aktív támogatása felé lépnének tovább. Csakhogy én egyáltalán nem vagyok benne biztos, hogy a saját bőrét alkalomról alkalomra extra biztonsági kockázatnak kitevő motorosok el is fogadják ezt.










