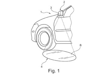
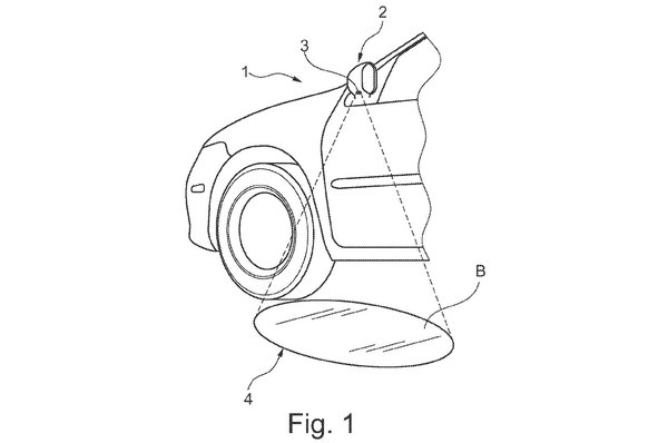
Maga a földre vetítő lámpa nem új ötlet, de eddig tisztán dekorációs célokra használták. Az autó az ajtó aljából vetítette ki a gyártó jelvényét, vagy egyszerűen csak egy fénypászmát. A Fordnál azonban új célt találtak az eszköznek.
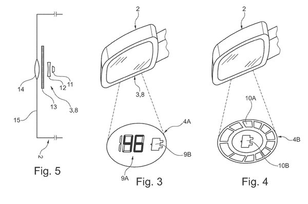
Az ötlet tényleg egyszerű és logikus: a tükörházban, a kilincsben vagy más hasonló, az autó oldalából kiemelkedő alkatrészben elhelyezett kivetítő az autó állapotának jelzésére szolgálna. Így anélkül lehetne mondjuk egy villanyautó akkumulátorának töltési szintjét ellenőrizni, hogy ki kellene nyitni az utasteret és bekapcsolni a műszerfal megfelelő funkcióját. De emellett számos más adat is kivetíthető az autó mellé ugyanezzel a technológiával, akár lekérdezhető az átlagos fogyasztás, vagy a következő feltöltésig, illetve tankolásig megtehető kilométerek száma – a lehetőségeknek tényleg csak a képzelet szab határt.
A modern kijelzők méreteit, felbontását és árát ismerve az az érzésünk, a megvalósítás sincs messze, nem csodálkoznánk rajta, ha egy-két éven belül találkoznánk vele a Ford valamelyik új modelljében.








