A sportkocsigyárak között szüntelenül zajlik a lóerőharc, a nagyok folyton előzgetik egymást. Egy turbómotort persze némi túlzással bármeddig fel lehet húzni, az igazi különbség ott adódhat, hogyan sikerül az aszfalton tartani ezeket a szörnyeket, és mennyire maradnak kezelhetőek a kanyarokban. A Porsche most ezen a téren próbál ki valami újat. Vagyis majdnem újat.
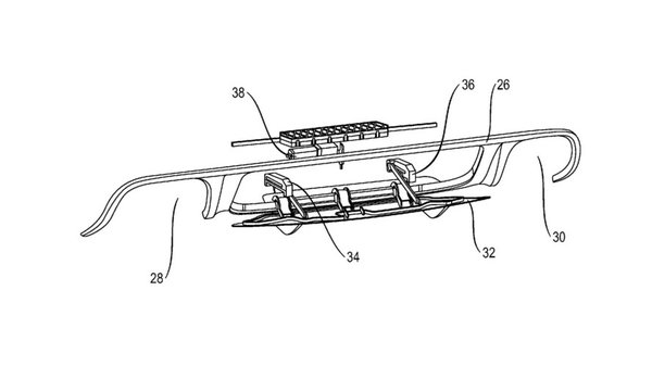
A napokban az Egyesült Államokban szabadalmaztatták egyfajta aktív hátsó diffúzort. Ennek lényege, hogy alaphelyzetben semmit nem látunk belőle, csak akkor bújik elő, amikor szükség van rá. Annak lehetőségét is mérlegelik, hogy több, egymástól függetlenül is működő elemből állítanak össze egy rendszert. Azt mondják, erre azért van szükség, mert a hagyományos diffúzoroknak nehéz helyet találni.
Egyelőre nem tudni, mely modelljükben próbálják ki először a technikát, de az már biztos, hogy nem lesznek vele világelsők. Hasonló megoldással rukkolt elő ugyanis a Lamborghini a Huracán Performanténál, ők Aerodinamica Lamborghini Attiva, azaz ALA néven emlegetik saját verziójukat. Igaz, nemcsak hátul, elöl is elhelyeztek aktív szélterelőket.
A Porschénál eddig is alkalmaztak már kétállású, aktív hátsó szárnyat, elöl pedig a köténylemez alatt is felbukkantak légterelők.











