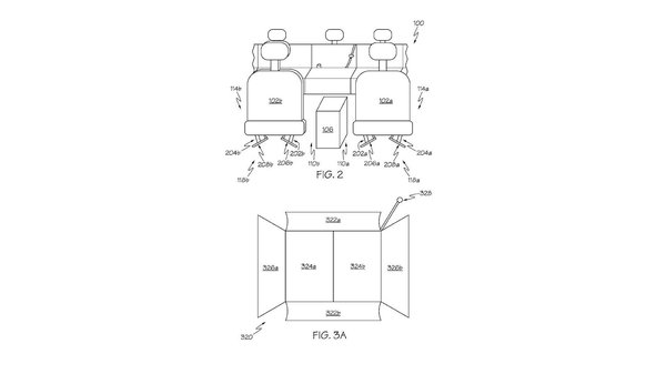
Valószínűleg mindenkivel előfordult már, hogy az autóban ülve kiesett valami a zsebéből. Legyen szó telefonról, pénztárcáról, igazolványról, ilyenkor minden tárgynak sikerül megtalálnia az utat a legeldugottabb zugokba, mondjuk a vezetőülés és a váltóboksz közé. Onnan aztán igazi kínlódás kibányászni, főleg ha valakinek nagyra nőtt a keze.
Úgy tűnik, a Toyota mérnökeit nagyon bosszanthatta ez a problémakör, a japán gyártó ugyanis most benyújtott egy olyan szabadalmat, ami kiküszöböli a kellemetlenséget. Egy afféle kis csúszdáról van szó, ami a megfelelő helyre irányítja a zsebből kihulló tárgyakat. Azok az ülés alatt egy tárolóba kerülnek, ahol könnyen hozzáférhetők.
Arról egyelőre nem szólnak a hírek, hogy a világmegváltó újítást piacra dobja-e a Toyota. Illetve ha igen, akkor vajon szériatartozék vagy rendelhető extra lesz autóikban?









![Der neue Mercedes-Benz C 400 4MATIC elektrisch. Energieverbrauch kombiniert: 18,6-14,2 kWh/100 km | CO₂-Emissionen kombiniert: 0 g/km | CO₂-Klasse: A [1] Exterieur: AMG Line; MANUFAKTUR opalithweiß metallic bright [1] Die Angaben sind vorläufig. Es liegen bislang weder bestätigte Werte von einer amtlich anerkannten Prüforganisation noch eine EG-Typgenehmigung noch eine Konformitätsbescheinigung mit amtlichen Werten vor. Abweichungen zwischen den Angaben und den amtlichen Werten sind möglich. //The all-new Mercedes-Benz C 400 4MATIC electric. Energy consumption combined: 18,6-14,2 kWh/100 km | CO₂ emissions combined: 0 g/km | CO₂ class: A [1] Exterior: AMG Line; MANUFAKTUR opalithe white bright [1] The information is provisional. Neither confirmed values from an officially recognised testing organisation nor an EC type approval nor a certificate of conformity with official values are available to date. Deviations between the data and the official values are possible.](/media/images/Original-50543-26c0043-001.format-jpeg.max-370x278.jpg)
