
Lézeres "ablaktörlő" készül a Teslánál
Egy ilyen szabadalmat legalábbis benyújtottak. Az önvezető rendszerek örülnének neki.
Közzétéve:
2019. 12. 08. 20:22
Közzétéve:
2019. 12. 08. 20:22
A hajtás után a Tesla megreformálna még valamit, ami az autózás kezdete óta alapjaiban nem sokat változott: lézerrel helyetettesítenék az ablaktörlőt egy friss szabadalom szerint. Legalábbis részben.

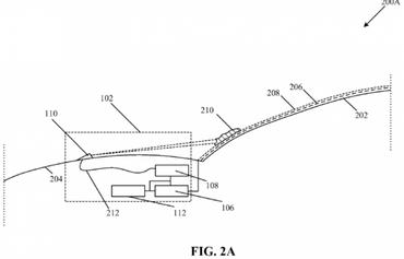
Azóta, hogy Florence Lawrence 1917-ben előállt az elektromos ablaktörlővel, az autós szélvédőtisztitátás nem ment messze az alapjaitól: tisztítófolyadékot spriccelve, oda-vissza mozgó lapátokkal csináljuk, amióta autózás az autózás. A Tesla lehet az első gyártó, ami messzire szakadna ettől a bevált megoldástól és lézerrel tartaná tisztán a szélvédőt. Sőt, akár az oldalablakokat, a fényszórókat és a különféle érzékelőket is, legalábbis erre lehet következtetni egy friss szabadalmukból.

Az egyelőre csak a levédetés miatt ismert módszer lényege, hogy egy szenzor érzékeli az üvegen lévő szennyeződéseket, amiket aztán célzottan, kellő erősséggel eltávolítanák onnan az autó különböző pontjaira beépített lézerfejek. A lapátot tehát nem váltaná ki teljesen a lézeres technológia, esőben, a víz ellen továbbra is szükséges a lapát, de az oldószeres suvickolást kiválthatja. És ami a Teslánál a legfontosabb, az érzékelőket tisztán tartva sokat lehetne javítani vele az önvezető rendszer megbízhatóságán.

Kérdés még van rengeteg, nem tudni például, hogy miként oldanák meg, hogy a bent ülők szeme védve legyen ezektől a koncentrált lézeres tisztításoktól. Rengeteg szabadalom születik az autóiparban, amik aztán hírverés nélkül tűnnek el a semmiben. A Tesla lézeres ablaktisztító módszerének a hírnév már kijutott, hogy szériagyártásban lesz-e része, még nem tudni, könnyen lehet viszont, hogy előbb lesz hasznosítva a vállalat napelemeinél, mint az autóknál. Már egész használható, tetőcserepet pótoló napeleme is van a cégnek, és mivel a meredek tetőkön koszolódó panelek tisztítása a szélvédőknél komplikáltabb feladat, a hatékony energiatermelés miatt viszont fontos, azokhoz lehetne csomagban árulni az ilyen lézereket.