Kanyarban bedőlő, három kerekű motoron dolgozik a Honda. Kanyarban nem bedőlője egyébként már létezik, azt úgy hívják, hogy Gold Wing Trike, és egy irreálisan drága, nyomorultul mozgó, tohonya esetlenség. Az új koncepció viszont nem hagyományos értelemben vett trike lenne, hanem a Piaggio MP3 és a Yamaha Tricity receptjét követő robogó, ami az NC750 platformra épülne.
A kanyarban bedőlő, egymástól függetlenül mozgó két első kerék egyébként jó megoldás. A dupla első tapadás egyenesben, kanyarban, csúszós úton és féktávon egyaránt sokkal biztonságosabb, mint ha csak egy kerék lenne. Cserébe viszont nehéz, bonyolult és drága – a Piaggio MP3 első futóművét például kialakítása miatt baleset után nagyon nehéz javítani, ha egyáltalán lehet, de a kompilkált fék- és reteszelő rendszer is feladja a leckét még a típust jól ismerő szerelőknek is, nem is beszélve arról, hogy a költségoldalon bizonyos tételek, mint például a gumi és a kormánycsapágy is duplán jelentkezik.
Az Yamaha Tricity más megoldást választott, a japán robogó kormányzása kevésbé tűnik szintetikusnak, sokkal egyszerűbb, és hétköznapi használatban nem érezzük rosszabbnak az MP3-nál – igaz, nem reteszelhető, így kevesebb extra szolgáltatást nyújt.
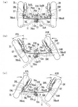
A Honda megoldása az eddig kiszivárgott információk alapján inkább a Piaggio futóművéhez hasonlít, az első kerkek külön-külön egykarú villán foglalnak helyet, amikhez egy-egy kisméretű rugóstag, és darabonként egy tárcsafék kapcsolódik.
A képek alapján úgy tűnik, hogy az első kerek kisebbek lesznek, nagyjából 15 collosak, hátul viszont az NC750 alapmérete, egy 17-es felni kerülne.













