Next Tc Logo

Bár az elektromos autók kapcsán főleg a nagyfeszültségű rendszer tulajdonságait szokták boncolgatni, van bennük kisfeszültségű is, mint minden más, hagyományos hajtású autóban. A Tesla ebben is külön úton jár, és ezt most meg is osztja az autóipar többi résztvevőjével, méghozzá ingyen.

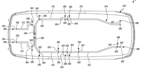
A Cybertruck kapcsán már rengeteg érdekes és kevésbé érdekes információról volt szó, a kisfeszültségű rendszeréről azonban még alig esett szó, pedig egyáltalán nem szokványos.

A többi autóval ellentétben ugyanis a Tesla nem a megszokott, 12 voltos rendszert használja, az övék 48 voltos. A Cybertruck az első Tesla, ami ilyen rendszert használ, és a piacon lévő egyéb, elektromos és hagyományos autók között sincs sok másik.

Elon Musk úgy gondolta, hogy jó ötlet, ha a rendszer dokumentációit megosztja a többi gyártóval. A Ford vezérigazgatója, Jim Farley meg is kapta ezeket, és annyira meglepődött azon, hogy az ajánlat nem csak poén, hogy egyből ki is írta az X-re.

They weren't joking. We received the document today, dated Dec. 5th. Thanks, @ElonMusk. Great for the industry! https://t.co/DkLaHA84CY — Jim Farley (@jimfarley98) December 7, 2023

De mi itt a lényeg, miben más a 48 voltos rendszer, mint a 12 voltos, ami már évtizedek óta iparági sztenderdnek számít? A kulcs az egyszerűségében van. Az utóbbi években ugyanis drasztikusan megnőtt az autókba szerelt elektronikai egységek száma, és 12 voltos kiépítés esetén ezekhez rengeteg vezeték kell.

A 48 voltos felépítés sokkal kevésbé összetett elektronikai rendszereket eredményezhet. Ez már onnan nézve is időszerű fejlesztésnek tűnik, hogy egyre gyakrabban hallani arról, hogy a modern autók közül sok nem valami megbízható elektronikai szempontból. A 48 voltos rendszerek hatékonyabbak, kevesebbet fogyasztanak, ami egy villanyautónál nem hátrány.

Forrás: Tesla

A dolog azért nem terjedt el eddig, mert az egész iparágban szabvány a 12 volt, minden autó és minden rendszer ezt a feszültséget használja. Egyelőre még az is gondot okozhat, hogy az átállás igen sokba kerülhet, főleg úgy, hogy eleinte kisebb tételben kéne gyártani az alkatrészeket.

A Tesla sem csupa jóindulatból és kedvességből osztja meg a rendszere alapjait, sokkal inkább arról lehet szó, hogy ezzel szeretnék serkenteni az átállást. Tehát a Tesla megspórol némi pénzt a gyártóknak azzal, hogy egy kész, kifejlesztett rendszer alapjait adja át ingyen, de közben ők is jó helyzetbe kerülhetnek ezzel, hiszen így hamarabb lehet sztenderd a 48 volt, amit ők is használni szeretnének.

Forrás: Elektrek

Jakusovszky Kristóf
Jakusovszky Kristóf
Szerkesztő, Újságíró
Hivatalosan formatervező mérnök vagyok, de 2016-ban úgy döntöttem, hogy jó lenne kipróbálni az autós újságírást. Nem eresztett: 2016-tól külsős, 2021 óta pedig fix szerzőként tevékenykedek a Totalcarnál. Amúgy a TC-s becenevem Elvis, a Porsche 911-et tartom a világ legjobb autójának, rajongok a régi shitboxokért és a macskákért, ráadásul van két F Astrám.